对于舒瑞普钎焊板式换热器的标准螺纹接头,可使用带联管螺母的焊接套管将管道连接至换热器的接头。根据所用介质的质量,焊接套筒可以选择碳钢或不锈钢。
舒瑞普对接接头由精选供应商按照舒瑞普规格进行生产。精心选择的优质材料具有良好的兼容性。准确的尺寸可为您节省安装时间和费用。舒瑞普配件确保按照设计工程师的预期安装和工作。
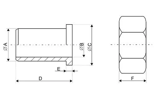
请在下表中查找规格、技术数据和材料选项。
技术数据
| 标称直径 | A | B | C | D | E | F | 扳手开口 |
|---|---|---|---|---|---|---|---|
| 3/4” | 20.5 | 15 | 23.3 | 30 | 3 | 14 | 30 |
| 1” | 26 | 20 | 30 | 30 | 3 | 15 | 37 |
| 1 1/4” | 32 | 28 | 38.8 | 32 | 4 | 18 | 46 |
| 1 1/2" | 40 | 32.8* | 44.8 | 40* | 4 | 19 | 52 |
| 2” | 48 | 40 | 56 | 32 | 4 | 24 | 66 |
| 2 ½” | 66.2 | 60 | 72 | 50 | 4 | 30 | 80 |
材料选项
| 联管螺母 | MS58 |
| 焊接套管 | 焊接套管:碳钢 (St 37-2) 或不锈钢 (W 1.4571) |
| 垫片 | Hecker-Centellen WS 3820 |