舒瑞普PU 50保温棉由精选供应商按照舒瑞普规格进行生产。精心选择的优质材料具有良好的兼容性。准确的尺寸可为您节省安装时间和费用。舒瑞普配件确保按照设计工程师的预期安装和工作。
请在下表中查找规格、技术数据和材料选项。
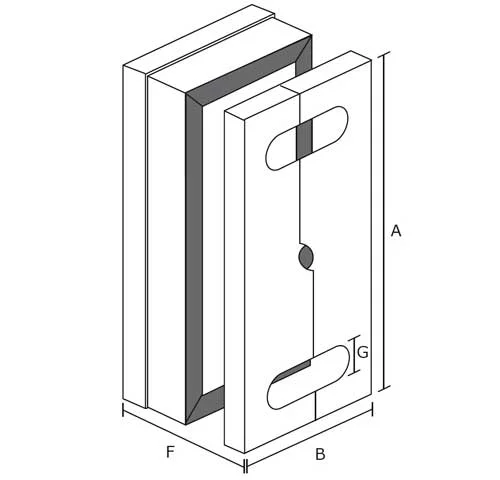
| 型号 | 120T | 50 | 35 | 57 | 60 | 65 | 427 | 439/500T | 649 |
|---|---|---|---|---|---|---|---|---|---|
| A mm | 710 | 810 | 680 | 2960 | 660 | 1100 | 970 | 1190 | 1406 |
| B mm | 480 | 445 | 460 | 440 | 590 | 610 | 560 | 520 | 650 |
| F mm* 大约 | 260+2,3xNP | 224+2,3xNP | 232+2,3xNP | 250+2,5xNP | 231+2,3xNP | 214+2,3xNP | 199+2,3xNP | 280+2,3xNP | 145+2,1xNP |
| G mm | 95 | 90 | 80 | 85 | 110 | 170 | 170 | 130 | 250 |
| 厚度 mm | 50 | 50 | 50 | 50 | 50 | 50 | 50 | 50 | 50 |
技术资料
| 最高工作温度 | +150°C |
| 导热性 | 0.025 W/mK |
| 耐火性能 | B2,符合DIN4102标准 |
| 颜色 | 的中文翻译是 |
材料
| 保温: | 硬质发泡聚氨酯 |
| 保温罩: | 铝 |